SRAM新专利:12速电机&变速箱单元的设计
近年来,SRAM持续发力传动系统领域,先推出通用后拨尾勾(UDH),被众多厂商采用,后来人们发现,这其实是在为T-Type后拨的发布做铺垫。它充分利用了新设计的驱动侧空间,打造出坚固耐用、换挡干脆利落的后拨。
但最近,SRAM近期公布的一项专利申请显示,他们可能正在开发一种解决方案,该方案有望使传统传动系统变得不再必要。
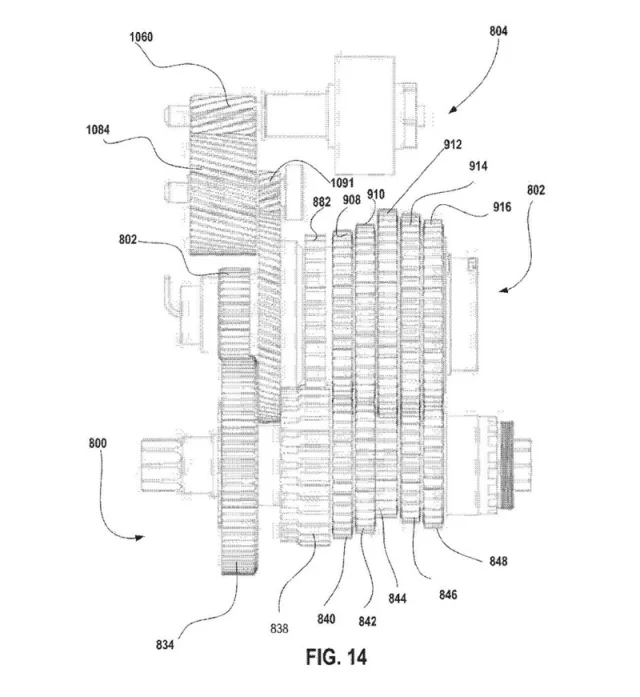
这项名为“美国专利申请19/238462——电助力自行车多速驱动单元”的专利于圣诞节当天公开,其中包含了一种电机变速箱单元(MGU)的设想图与详细说明。资料描述了一种集成齿轮系统的驱动单元,提供12个均匀分布的档位,变速范围达504%。相比其他MGU设计,该变速范围处于中等水平:高于尚未量产的8速Intradrive GD8(473%),但低于12速Pinion MGU(600%)。

专利文件中指出,总齿轮比定义为“曲柄旋转一周时,链轮旋转的圈数”。其最低齿轮比为1:1,最高为0.198:1。虽然专利核心描述的是离散齿轮系统,但也提及可兼容其他传动形式,如内变速花鼓、箱式变速箱及无级变速器。
它还提到了多种不同的骑行模式,包括骑行者可以使用控制单元切换的模式,以及利用传感器的自动模式。更进一步,它还提到了调整变速本身某些特性的可能性。

近年来的这些进展预示着传统前拨与后拨的时代或许即将终结,至少在电助力自行车领域是这样。电助力自行车自然成为变速箱技术的理想应用场景,因为其增加的扭矩与行驶里程会加速传统传动系统的磨损,而电力辅助又能抵消变速箱可能带来的阻力负担。
变速箱更高的可靠性和更低的维护成本通常被认为是其相对于传统前后拨变速系统的主要优势。例如,Pinion MGU每行驶10000公里只需要更换一次油。SRAM的这项设计虽然没有明确说明在这方面的优势,但确实在非驱动侧配备了注油/放油螺塞和油位观察窗。

迪卡侬押注国际自行车租赁业务
迪卡侬正通过资本布局加速拓展自行车租赁领域的国际市场。近日,其投资子公司Decathlon Pulse宣布将收购德国自行车租赁平台Bikeleasing的65%股权,成为控股股东。目前双方在德国已开展近一年的业务合作,用户可通过该平台租赁迪卡侬的自行车与电动自行车。
据Bikeleasing称,迪卡侬Pulse的加入为“进一步的可持续增长和有针对性的国际扩张奠定了坚实的基础”。最终收购价格尚未确定,但其所有者Brockhaus Technologies目前对Bikeleasing的估值为5.25亿欧元。
就运营而言,公司目前不会发生任何变化。“集团公司将继续以现有形式存在,旗下拥有Probonio、Bike2Future、Lesora和Bikeleasing等独立品牌,”租赁专家表示。创始人Bastian Krause和Paul Sinizin所在的管理团队将继续领导公司。
迪卡侬Pulse的CEO弗兰克·维戈强调,公司致力于与“拥有共同愿景和价值观的创新企业建立长期合作”。他指出,Bikeleasing在可持续出行领域表现出良好的增长潜力与创新能力。
这次收购显示了迪卡侬由产品销售向“产品+服务”模式延伸的战略意图。通过控股租赁平台,迪卡侬不仅能提升用户触达频率、增强品牌粘性,还可进一步收集使用数据,反哺产品研发与市场策略。尤其在电动自行车日益普及的背景下,租赁模式有助于降低消费者体验门槛,拓展潜在客群。

PNW Components召回约1200个Loam Gen 2脚踏板。
PNW Components公司正在召回约1200个Loam Gen 2铝合金脚踏板,因为其轴可能会开裂,导致踏板主体与曲柄分离。
已收到四起车轴开裂和脱落的报告,但无人受伤。消费者应联系PNW Components公司免费更换车轴。这些脚踏板是通过线上零售商和实体店在售后市场销售的。
这款脚踏板为平台式(非锁踏式),可通过脚踏板本体左上角(与螺纹轴同侧)激光蚀刻的“Tectonic”标志来识别。颜色可选黑色、银色、绿色、橙色和紫色。
Loam Gen 2 脚踏板于 2025 年 6 月至 2025 年 11 月期间在自行车商店和 PNWComponents.com、REI.com、Backcountry.com 和 JensonUSA.com 等网站上销售,售价约为 160 美元。
